Apple патентует упаковку своих продуктов
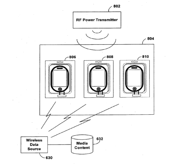
Компания Apple на днях подала не совсем обычную патентную заявку, в которой было описан патент, связанный с оригинальной упаковкой всех устройств и продуктов от компании Apple. Другими словами, Apple пытается разработать универсальную упаковку, которая в свою очередь будет автоматически менять свой внешний вид в связи с содержанием коробки. Apple назвала свою новинку «активный электронный носитель».
Если Apple удастся реализовать данную технологию, это станет невероятным прорывом, который позволит далеко продвинуться в разработках. К примеру, с новой упаковской по беспроводной технологии Apple сможет связаться с устройством, подзарядить его, активизировать и обновить программное обеспечение, чтобы пользователь получил актуальную модель и «начинку» устройства. Но Apple также сможет подключиться, к примеру, к iPad, активировать его, чтобы пользователь при покупке мог убедиться в работоспособности товара, пишет .
Как сказано в патенте, новая «фишка» может стать дополнением или эволюционным развитием помощника для покупателя, который смотрит товар на витрине. Сейчас на всех прилавках установлены iPad, при помощи которого пользователи могут узнать абсолютно любую информацию об интересующих их устройстве.
Подписывайтесь на наши новости в соцсетях и рассылке Unipack.Ru:
Источник: Unipack.Ru
Версия для печатиВсе новостиДобавить новостьПодписка на рассылку
Читайте по теме:
Все производители и поставщики продукции
Комментарии
Обсуждение окончено



21:24 Ivan
Вы действительно думаете, что у них был выбор?
10:57 vlulyanov
Опять оголтелая борьба не с тем.
13:23 vlulyanov
А есть ли регион, где спрос на упаковку низкий? Пока существуют магазины сам...
17:47 vlulyanov
Как-то так сложилось, что не сразу прочитал эту статью. А когда сейчас прочи...
10:39 vlulyanov
На мой взгляд, лучше бы снимки изделий-победителей здесь дали.